|
公司基本資料信息
|
|||||||||||||||||||||||

自垂百葉
此風口用于具有正壓的空調房間自動排氣,通常情況下靠風口的百葉自重而自然下垂,隔絕室內外空氣交換,當室內氣壓大于室外氣壓時,氣流將百葉吹開而向外排氣,反之室內氣壓小于室外氣壓時,氣流不能反向流入室內,該風口有單向止回作用。
自垂百葉結構示意圖


單層固定百葉
單層固定百葉葉片傾斜設計,具有防止直吹風作用,常用于洗漱間、衛生間的回風,電梯、管道口及檢修口的裝飾,防排煙、排風的側送風或回風,可以與人字閘配套使用,此系列風口的葉片為固定式。
單層固定百葉結構示意圖


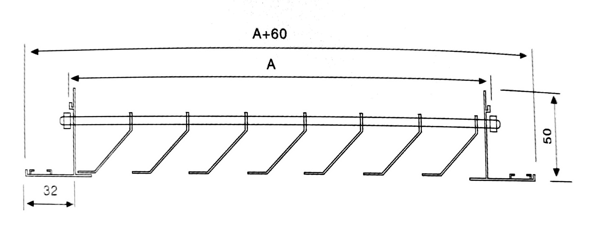
單層可調百葉
單層可調百葉風口,葉片角度可在0-180°范圍內任意調節,將葉片調成不同角度,可得到不同的送縫距離和不同的擴散角,也可以配置OBD人字閘,將風量和風速控制在適當范圍內。
單層可調百葉結構示意圖


防水百葉
防水百葉風口,系鋁型材制成,其葉片設計成特殊狀,具有防止雨水濺入內部的功能,一般安裝在外墻上作為新風口。
防水百葉結構示意圖


門鉸式百葉是在固定百葉的基礎上增加一個邊框和特制門鉸,內膽和邊框相對分離,通過特制門鉸連接在一起。用手輕拔內膽兩邊彈簧門鎖,內膽就像門一樣打開,常與過濾網配套使用,多用于回風,方便清洗過濾網。


球形噴口
球形噴口由于送風距離大,特別適用在空調送風口與人員活動范圍有較大距離的場合。如各種大廳及大型裝配車間等面積很大的場所,采用天花板送風口不能將氣流均勻送至所需地點時則應考慮采用球形噴口送風,以解決遠射程的送風問題。噴口采用空氣動力學結構設計,其噪聲低、射程遠、噴口表面光潔美觀、線條過度均勻,適用于各種室內條件和技術要求,可用于各種空調系統。
球形噴口結構示意圖


旋流風口
旋流風口具有送出旋轉達射流,誘導比大,風速衰減快等特點;在通風空調系統中可做大風量大溫差送風以減少風口數量;安裝在天花板或頂棚上,可用于3米以內低空間,也可用于中高度大面積送風,高度甚至可達10米以上。調節起旋器在風口中位置,可獲得吹出型、散流型等不同氣流形式,此時風速基本不變。
旋流風口結構示意圖


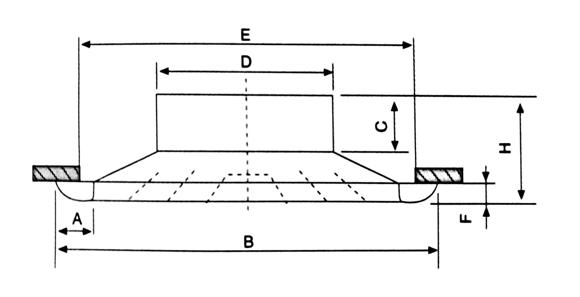
圓形散流器
圓形散流器用于冷暖送風、常安裝在頂棚上吹出氣流呈貼附(平送、下送)型,其結構為多層錐面型。由于室內誘導氣流大于排風量,因此吹出氣流減速較快。因相對任意大小面積來說可以供給較大風量,而且在給定的風量范圍內擴散半徑可大小變化,常與圓形對開調節閥配套使用。
圓形散流器結構示意圖


方形散流器
方形散流器具有線條挺直簡潔,葉片傾角37°,具有擴散作用,氣流屬貼附(平送)型,整個葉片與邊框采用分離結構,整個葉片可以從邊框中輕易取出,方便安裝和清洗,還可以根據空間特點選用不同方向的散流器,也可以與人字閘配套使用。適用于播音室、醫院、劇場、教室、音樂廳、圖書館、游藝廳、劇場休息室、一般辦公室、商店、旅館、飯點及體育館等。
方形散流器結構示意圖

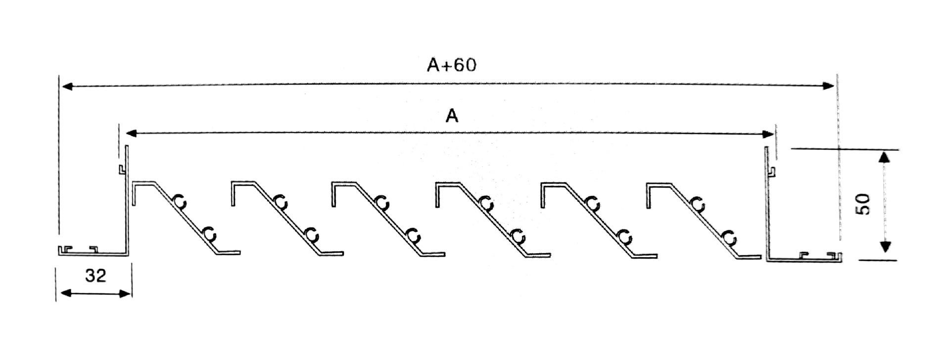
雙層可調百葉
雙層可調百葉風口,葉片角度可在0-180°范圍內任意調節,將葉片調成不同角度,可得到不同的送縫距離和不同的擴散角,也可以配置OBD人字閘,將風量和風速控制在適當范圍內。
雙層可調百葉結構示意圖

風口的型式代號與名稱按下表規定:

型號編制按以下規定:
